

- 微信客服
工作时间 09:00-23:00
一、考生登录 考生登录“招考资讯网”(www.zhaokao.net),点击“自学考试”进入“天津市高等教育自学考试考生服务平台”操作流程见下图: ![]() 二、身份认证 1. 报名照片(近期免冠照) (1)近期免冠浅蓝色(参考值RGB<100,197,255>)底彩照,JPG格式,示例见下图: ![]() (2)照片大小为20—40KB,分辨率300dpi,照片高度为640像素,宽度为480像素。
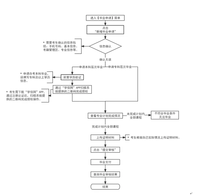
![]() (3)身份认证上传的证件照作为考生存档照片,将用于准考证打印及其他各项业务办理,须符合《天津市高等教育自学考试报考及毕业证书电子注册图像采集规范及信息标准》(详见附件),不符合要求的照片将不能通过认证。 ![]() 2. 本人身份证照片 (人像面) (1)身份证字体清晰, 四个圆角完整,大小为 20—80KB。 (2)图片禁止拉伸或变形, 图片拉伸或变形,可能认证失败。 3. 注意事项 考生不能修改身份证号、姓名、性别、民族等关键信息,如有错误,请考生联系所属考籍管理区提出申请并进行现场确认。 三、办理时间 2024年12月9日至11日(系统提供服务时间为每天8:30至21:00),11日后系统毕业申请功能关闭,该项业务停止办理。 四、办理条件 1.考生须专业计划课程考试成绩全部合格(包括:省际转考成绩、课程免考等成绩。 2.考生在申请毕业时个人信息要保证准确无误(包括姓名、身份证号、性别、出生日期等),如有变动或错误须及时联系所属考籍管理区提出申请并进行现场确认。 3.考生申请本科毕业证书,须持有专科或专科以上毕业证书。 4.专科毕业证书与本科毕业证书不能在同一申请时间批次办理。 五、办理流程 ![]() 六、所需材料 1. 申请本科毕业的考生需下载“学信网”APP,注册认证后,扫描“天津市高等教育自学考试考生服务平台”提供的二维码完成授权操作。若授权失败或未完成学信网认证,考生可手动点击“已完成授权”,进入下一步,上传相关材料。 ![]() 2.申请本科毕业的考生如前置学历验证授权失败或未通过“学信网”认证,需上传“学信网”下载的有效期内专科及以上“学历电子注册备案表”(PDF格式)或“中国高等教育学历认证报告”(JPG格式;照片大小为50—500KB;请确保所上传的照片清晰)。 3.若现用名与原学历姓名不一致,需上传公安机关出具的姓名更改证明照片(JPG格式;照片大小为50—500KB;请确保所上传的照片清晰)。 七、重要提示 1.为维护考生利益,新专业课程计划启用后,考生原合格课程的成绩继续有效,可按照《天津市高等教育自学考试各新旧专业课程计划替代方案》进行课程替代。 2.对开考专业在籍未毕业的考生设立两年过渡期(从2024年1月1日开始至2025年12月31日截止)。过渡期内,考生可根据已合格课程情况,自主选择按新专业课程计划或旧专业课程计划申请毕业。《天津市高等教育自学考试各新旧专业课程计划替代方案》实行双向替代。毕业证上的专业名称均使用新专业名称。 3.根据“津价费(2001)244号”文件规定,申请毕业的考生网上须交纳考试成绩复查费56元。 4.本次毕业证书将于2024年12月30日开始陆续邮寄发放,有关毕业证书邮寄事宜可于工作时间拨打邮政客服电话:27353889或速递业务服务电话:11183。 5.请考生确保系统中登记的手机号码准确无误,并保持通讯畅通,以便我们在邮寄过程中能够及时与您取得联系。 6.领取毕业证书后,考生需将“毕业审批登记表”交由单位人事档案管理部门存档。 7.毕业审核工作结束后,市自考办将按照教育部教育考试院规定的时间上传毕业生数据。考生或用人单位可以通过“中国高等教育学生信息网”(www.chsi.com.cn)查询。 8.申请学位的考生,请于毕业申请前主动联系本专业主考院校,了解该专业的学位授予标准及要求。 附件:高等教育自学考试报考及毕业证书电子注册图像采集规范及信息标准
|


工作时间 09:00-23:00